摘要:介绍一种既可烧红砖,又可烧青砖的分体组合式隧道窑,在焙烧红砖过程中可变换为烧青砖,在烧青砖时也可切换成烧红砖,即在焙烧过程中品种可互换,其产量几乎不受影响,完全取代用罐罐窑焙烧青砖的落后工艺,并彻底改变隧道窑不能连续烧青砖的历史。
关键词:分体隧道窑;移动火箱车;还原气氛; 还原室;
在当前,烧制红砖普遍使用隧道窑,烧制青砖的隧道窑却非常罕见。隧道窑是一种连续式窑炉,进坯、烧砖和出砖同步进行,生产效率很高。但是,在烧制青砖时,由于需要构建一个缺氧的封闭环境,很难实现连续生产。目前,烧制青砖使用的是一种被称为“罐罐窑”的非连续生产窑炉,工人需要依序执行进坯、点火、封窑、淋水和开窑出砖五个步骤来制造青砖,生产效率低。能不能实现隧道窑也可以连续烧出青砖?下面就既可烧红砖又可烧青砖的分体式隧道窑做些介绍。
1、设计思路
本技术是一种既可烧红砖,又可烧青砖的分体组合式隧道窑,由前段、中部可移动段和后部固定段三部分组成。在焙烧红砖过程中可变换为烧青砖,在烧青砖时也可切换成烧红砖,即在焙烧过程中品种可互换,其产量几乎不受影响,完全取代用罐罐窑焙烧青砖的落后工艺,并彻底改变隧道窑不能连续烧青砖的历史。按现有隧道窑配置的合格脱硫除尘设备就可以满足环保达标要求,不需要再增加设备。该技术不仅使用于新建隧道窑,而且对现在烧红砖的隧道窑,运用该技术适当改造也可既能烧红砖又能烧青砖。
2、工作原理
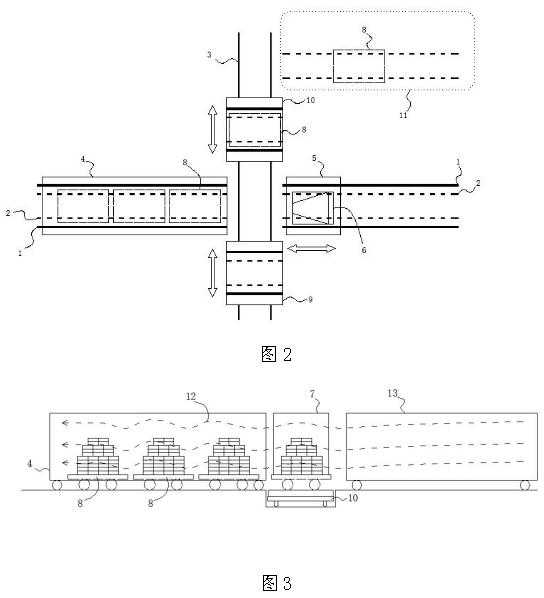
2.1、传统的隧道窑是一个不可分割的整体窑,本技术把直通隧道窑和可移动隧道窑结合起来,建成可以分体和组合式的隧道窑,即有一部分窑体是可以横向移动的;
2.2 把烧好的高温红砖移出隧道窑,推到可移动的还原箱体内,在还原气氛下变成青砖,不需要在隧道窑里占用时间还原,因而不影响隧道窑正常焙烧,焙烧速度不受影响;
2.3 不烧青砖时,把各段窑体连在一起,把火箱作为保温的热源,向前提供热量,直到保温带形成后就不需要火箱了,又回复到原来烧红砖的操作办法。把火箱摆渡到待用处,待烧青砖时再用。
2.4 在烧红砖时要改烧青砖,只需要把窑体1(详见窑体立面图)最后一车位的砖拉出来,放入还原箱体内,给火箱车留出位置,把加了燃料的火箱车推入进去,依据火箱车所在位置,通过窑体上设置的燃料喷射装置向窑内喷射燃料,一方面是窑温达到一定温度,另一方面点燃火箱里的燃料,减少或不用高价格的燃料,恢复用低价格的固体燃料,步入正常烧青砖的循环。
2.5 核心技术
本技术与现有隧道窑的建造总体是相似的,所不同的是,把窑体分二段或多段来建设,一般建三段就可以了,窑体1,窑体2和窑体3(详见窑体立面图)。窑体2和窑体3都可建成移动式,各窑体对接处都设有相互密封装置,但为了节省投资,窑体1可建成固定的,窑体2、窑体3要建成移动的,也可把窑体2和窑体3联成一个整体,有三段窑体变成两节段窑体,或多段变成两段,多段连在一起,但前题是可移动。如果把窑体2建成可前后伸缩的,或有侧密封装置,那么窑体3就可建成固定的,这一原理更适合现有隧道窑的改造。
我们考虑不设火箱也是可以的,但要设置较多的喷射燃料装置,包括由青砖改烧红砖时保温带的热源供给,防止烧好的砖急冷,造成损失。从节约的角度考虑设火箱可以用价格较低的固体燃料。
3、技术特点
可烧红砖又可烧青砖的分体组合式隧道窑,在普通隧道窑的焙烧系统、运转系统的基础上,只是需要添置部分设备(详见附图),其中包括1)分体式窑体;2)移动窑体的行走轨道;3)窑体1尾部后的行车坑及轨道。4)多个循环摆渡车。5)建造一台上有支撑移动窑体运行的轨道、沙封槽和牵引系统的摆渡车(改烧红砖时用);6)窑体1后边或移动窑前部设有燃料喷射系统,<依据火箱车所在位置设置>;7)移动窑体的动力系统;8)移动窑体内部牵引系(改烧青砖时把剩余的红砖按保温要求逐步拉出移动火箱车用);7)防止火箱车温度散失和烟气外泄的关开门系统《可利用隧道窑截止门和进出门》;10)还原室,还原室下沿四周有密封装置,与窑车框砖面部四边相密封;11)循环火箱车;12)还原区包括再次对有砖的还原室下沿进行密封操作区;13)把还原室放置在烧好的红砖窑车上的和卸砖时的吊装设备;14)窑体摆渡车;
4、具体操作
4.1 烧红砖
先把带支撑移动窑体轨道、沙封槽和牵引系统的摆渡车与窑内固定轨道定位,然后把多节分体窑连接为一个整体就可以点火烧红砖了,与普通烧红砖窑操作一样。
4.2 烧青砖
若由烧红砖转烧青砖,把移动窑和窑内烧好的砖一起向出车方向移动,并把窑体1内最后一车烧好的砖也可推入移动窑内并关上进口门,逐步开启上部的抽风阀,把热风送往干燥室。也可把窑体1内最后一车烧好的砖,牵引到移动过来的循环摆渡车上,迅速把吊装好的还原室放置在该窑车上(吊装设备下要有隔热和排热装置),推入还原区。这两种办法的目的,都是为了给火箱车留出进窑体1的位置。
在还原室离开的同时,要把火箱车摆渡过来,火箱车迅速推入窑体1内,然后开启窑体1上的燃料喷射系统喷射燃料,保障窑内温度回复正常。待火箱车上的燃料点燃升温后,温度足够用,就可以关闭窑体1上的燃料喷射系统。待达到烧成温度时,,首先要把移动窑向前推进,并打开截止门,与窑体1对接好后,就可向窑内进砖坯。有两种方案:一是待火箱车被推到移动窑1号车位时,烧好的一车红砖刚好到循环摆渡车上,这时移动窑就要向后退一个车位,把烧好的红砖露出,迅速把吊装好的还原室放置在该窑车上,推向还原区,同时另一个循环摆渡车到位并定位,然后把火箱车推向前,与前面的窑车对接,再次进入焙烧状态,同时移动窑向前推进一个车位,又与窑体1对接,进行下一个循环工作。以此类推。
待窑内的温度达到出车要求时,通过牵引系统(有隔热和排热装置),把火箱车前的烧好的一车砖,连同火箱车一起向后拉两个车位,火箱车前烧好的一车砖就在循环摆渡车上,这时移动窑向后移动一个车位,烧好的红砖露出,迅速把吊装好的还原室放置在该窑车上,推向还原区,另一个循环摆渡车移动过来与轨道对接定位好后,打开移动窑进车口门,迅速把移动窑和火箱车前移,分别与窑体1和窑车对接,再次进入下一个焙烧状态,以此类推,不断循环。
5、传统隧道窑改造
把现有隧道窑改成既可烧红砖又可烧青砖的分体组合式隧道窑,操作原理是一样的,所不同的只是隧道窑中部左右要增建一节移动窑也就是窑体2。烧青砖时,烧好的砖需要出窑时首先要把火箱车向后移动一个车位,这是火箱车正好在窑体3内,窑体2通过窑体摆渡车移离开出车口,迅速把循环摆渡车移动过来并与两窑内轨道对接定位,然后从进车口向窑内进车,这时正好把烧好的砖推到循环摆渡车上,迅速把吊装好的还原室放置在该窑车上,运往还原区,然后把窑体2和在窑体3内的火箱车移回,分别与窑体1和窑车对接,进行下一个循环,以此类推,不断循环。
6、注意事项
6.1 进入还原区的还原室上要安装:测压表,喷水装置,测温装置,加温装置,如果因故温度低了,也可以少量向还原室内喷燃料。
6.2 还原区应设预热收集系统,把收集系统起来的余热送人干燥室。
6.3 对于高温区的转动、移动设备要设置隔热和排出热风装置。
7、结束语
“既可烧青砖又可烧红砖组合式隧道窑”已经获得国家实用新型专利,但是尚未投入工业性生产,我们的设计还需要通过实践来考验,真心希望业内同行和专家们提出宝贵的意见,让这个专利更加完善,为行业的发展做出贡献。

窑体立面图


1、窑体轨道;2、窑车轨道;3、摆渡车轨道;4、第一窑体;5、第二窑体;6、火箱车;7、还原室;8窑车;9、第一摆渡车;10、第二摆渡车;11、还原区;12、气流;13、第三窑体。
版权所有:【河南欧帕工业机器人有限公司】
本站所有内容受知识产权保护 未经许可严禁转载、复制或建立镜像
中心地址:河南省郑开大道官渡组团 联系电话:0371-60863533
豫ICP备14017777号-3 营业执照 河南省互联网违法和不良信息举报中心

