摘要:通过对平流排烟技术与传统排烟技术的比较,介绍了平流排烟技术的优势和实际运用中取得的效果,结合我国砖瓦行业的实际,阐述了在隧道窑上运用平流排烟的科学性和先进性。对平流排烟技术在隧道窑上使用的范围、方法和主要注意事项等,做了详尽的介绍。
关键词:烧砖隧道窑 平流排烟 热工系统 排烟技术
1、什么是平流排烟
平流排烟(Advection smoke)技术在国内烧砖隧道窑上应用已经有十多年的历史了,西安力元公司最早把平流排烟技术应用到移动式隧道窑上,随后四川宜宾信诺窑炉公司把这项技术应用到装配式隧道窑上。尽管该技术在欧洲国家的隧道窑上应用比较成熟,但在我国还属于新鲜事物,大多数砖瓦企业还不知道平流排烟为何物。从这几年应用情况来看,在国内砖厂现有一次码烧生产工艺条件下,通过不断的改进与提高,基本克服了“水土不服”的问题,已经取得比较满意的效果,产量和质量都有大幅度提高。
那么什么是平流排烟?简单地讲就是从隧道窑进车口端的前面抽风,烟气在流动过程中“一直向前”往前流动,这种排烟方式就是平流排烟。平流排烟是从进车口端面抽烟,且前抽风口上设有调节大小的阀门,这样风就不需要拐弯很容易直线把风抽向前,不仅减少了烟气流动的阻力,同时减少窑墙两边漏风,降低了风机功率,上下温差很小,底火速度快,彻底解决大断面隧道窑中间风不易抽动的问题。结合原来的侧抽风(哈风口),不仅大断面隧道窑单位产量超过小断面窑的产量,火行速度≥7m/h,而且在3.6m断面以上隧道窑上表现也令人满意,产品质量和产量都得到明显提高。
2、平流排烟的适应范围
平流排烟技术主要来源于欧洲,在我国推广应用还不到10年的时间,我国的烧砖隧道窑与欧洲有很大的不同,除了一次码烧和两次码烧工艺的区别以外,对入窑砖坯含水率差距很大。例如欧洲对砖的品质要求很高,砖坯入窑含水率通常控制在3%以下,因而平流排烟技术有很好的前置条件。
而在我国却大不一样,一次码烧的砖坯含水率能控制在18%左右就是不错了。为了追求产量,往往恨不得还要把砖坯码到16层以上的高度,这种以牺牲品质为前提的一次码烧隧道窑,单纯的平流排烟技术是无能为力的。
针对我国砖瓦隧道窑的实际,特别是一次码烧的现实情况,采用平流排烟与侧哈风口相结合的复合排烟方式(详见《砖家》2014年11期,改变大断面隧道窑排烟系统的设想),即保留了平流排烟能耗低、产量高、质量好的优点,又克服了一次码烧隧道窑砖坯含水率高的问题,起到事半功倍的效果。
3、平流排烟的主要方法
平流排烟常见的方法大致归类为两种:一种是在截止门(也称“窑门”)上设置排烟口,这种方式简单易行,缺点是定时升降的截止门会对焙烧制度带来干扰,且升降活动的窑门需要设置软管与烟道相连接,比较麻烦(见图1和图2)。另一种方法是设置过渡室的方式(见图3),这种方式的优点是排烟口相对固定,从而烟道的设置比较简单,不会像截止门那样受到上下升降的影响。
3.1、排烟口设置在升降截止门上

图1、升降截止门
把排烟口设置在升降截止门上的做法最简单,如图1和图2所示,排烟口随着截止门的升降而变化,虽然结构最简单,但窑门升降一次对窑内焙烧气氛干扰一次,其缺点也是显而易见的,因此这种方法通常适用于需要改造的隧道窑和断面比较小的隧道窑。
通常情况下,排烟口应当设置在截止门的下部,迫使烟气有一个线下流动的趋势,减少热空气上升造成的温度分层现象。在截止门的顶部设置的一个集中的排烟孔,排烟孔通过活动软管或其他连接方式与排烟管道连通。

图2
如图2展示的是另一种可升降的截止门,与图1那种把整个截止门做成空腔的方法不同,而是在截止门的背面独立设计了排烟口和风道,有点像截止门背负了一个排烟系统,看上去有点怪异,但效果是一样的好用,喜欢哪一种方式自己来决定。

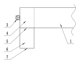
图3、采用过渡室的平流排烟方式
3.2、采用过渡室的平流排烟方式
为了解决每次升降窑门对窑内焙烧气氛带来的干扰问题,采用过渡室的平流排烟方式是不错的解决方案。其过程非常好理解,窑车入窑的时候开启第一道门7,进入预备室6后关闭第一道门7,开启第二道门5,然后窑车进入进车室4,顶车机(或步进机)将窑车顶进隧道窑1内焙烧。这个过程最大限度的降低了升降窑门对窑内焙烧气氛的影响,还有一个显而易见的好处是排烟口是固定在进车室4的端面上的,消除了连接软管反复升降容易破损带来的一系列问题。
因此采用过渡室的平流排烟方式是最好的方案,宜宾信诺窑炉公司就是采用的这种方案(图4),要说缺点嘛当然也是有的,那就是过程稍显麻烦了一点,操作要求也高了一点,但对于自动化解决方案来说,都不是什么大问题,可以轻而易举的解决掉。
4、传统隧道窑排烟方式的缺点
传统隧道窑的排烟口都是设在内窑墙的下部两侧,烟气流动过程中要向两侧分流,在抽力的作用下烟气有下拉的作用,从而保证窑内烟气的均匀。这个过程受到的阻力是比较大的,特别是9.2米及以上的大断面隧道窑,窑体中部的烟气要通过预热带拉到排烟口,路径长、阻力大,抽力必然小,中间的风不易拉动,造成焙烧速度不均匀。稍有不慎就会出现两边的砖烧好而中间的砖烧焦,或中间的砖烧好两边的砖欠火的问题。
于是,为了改善大断面隧道窑存在的问题,大家在实践中发明很多办法,有在预热带上面设抽烟支管(也叫腹腔抽烟),有从窑顶抽风,有烟气回烧技术等等,虽然起到一定的作用,但也存在很大的不足,一是浪费有效热量,加大了预热带上下温差,造成焙烧速度减慢,且影响产品质量。
为了克服热空气向上浮的问题,在窑墙两边哈风口(排烟口)的只要作用就是把上浮的热风往下拉,尽量保证预热带烟气温度基本一致。殊不知传统的隧道窑在砖垛之间和四周顶留有100mm左右的窑车运行安全缝隙,缝隙通道的气流一般比砖垛里面走的快,无论你采用窑顶设腹腔抽烟还是中部抽烟那种方式,都难以改变窑内烟气的现状。还会减少坯垛中穿流气体流量,传热效果大大降低,造成下部的砖坯预热效果差 ,容易把焙烧带底火拉上,造成底排砖欠火。
5、平流排烟的优势
如前所述,平流排烟的特点是烟气具有趋前性,在端口排烟风机的作用下“一路向前”,把焙烧带中部上浮的热量迅速往下拉,并迅速拉向预热带,加快砖坯下部预热,为加快焙烧速度、提高焙烧质量打下基础。有趣的是平流排烟技术使教科书上的“桥型闸”、“阶梯闸”等操作方法失去了用武之地,却给自动化焙烧创造了很好的条件。
不过对于一次码烧隧道窑,由于砖坯含水率比较高,这种单一的“一路向前”的烟气流动不见得是最佳状态(见图5)。孙文奇工程师在分析了这些状况以后,采取除了在截止门或端墙上的设置抽烟孔以外,保留了窑墙两边的部分排烟口(哈风),可根据隧道窑断面上不同部位的风量随时调灵活整风闸,增加一定的穿流风促使砖坯快速脱水干燥,保障断面风量和温度的均衡性(图6)。
显而易见,由于截止门下抽风是直线抽风,就减少了中间风的路径和阻力,使风速相对加快,风量相对增加,那么风机的动力消耗也就减少了,实践证明,与传统的隧道窑相比可节约风机电耗30~40%左右,节能效果十分可观。
值得提到的是,对现有大多数有条件的传统隧道窑进行平流排烟改造,是一件比较容易实现的事情,不仅用工、用料都很少,两人一个星期就可完工,而且施工中还不影响焙烧,不用停工停产。
6、平流排烟的实践
平流排烟不仅是克服大断面隧道窑中部风不易抽动问题而“量身定制”的解决方案,实践中表现效果确实明显,在中断面隧道窑上的表现也非常不错。例如浙江有一家砖厂,由于隧道窑的宽度和码坯形式受到限制,使砖垛中部焦砖的问题长期得不到解决,废品率很高,采纳我们的建议和方案,将传统的排烟方式改为“平流排烟”方式以后,上述问题迎刃而解,焦砖问题得到彻底解决。而且,改用平流排烟后,原来引风机的75千瓦电机的频率由原来的46HZ降低到38HZ,减少风量17.4%,电流由128A降低到78A,电流减少50A,直降低39%!我们就按每小时节电40kvA(度)计算,按每日24小时连续运转,一天就可以节约960kvA(度)电量,再按每度电平均0.7元测算,一年就可节约电费22万元人民币。采用“平流排烟”技术以后,使大断面隧道窑焙烧速度大有改观,火行速超过7米/每小时,隧道窑的单位容积产量超过中小断面隧道窑,取得良好的技术经济效果。
7、总结
平心而论,平流排烟技术在烧砖隧道窑上的运用还是比较新鲜的事情,特别是针对传统隧道窑的实际和我们的国情,需要不断的探索和改进,让这项新技术在砖瓦行业得到推广应用,特别是在“二次码烧”隧道窑上有更好的发展前景。
平流排烟技术使我们改变了过去“大断面隧道窑单位产量不如小断面隧道窑”的误解,这项技术的优点得到同行们的认可和肯定。对平衡隧道窑的断面风量、缩小断面温差、加快焙烧速度、提高产品质量等方面,优势明显。充分证明其科学性和先进性,是隧道窑排烟系统一次技术大飞跃,是应积极推广的先进技术。以上仅仅是我们一家之言,有不妥之处,还望同行们多多指正。
版权所有:【河南欧帕工业机器人有限公司】
本站所有内容受知识产权保护 未经许可严禁转载、复制或建立镜像
中心地址:河南省郑开大道官渡组团 联系电话:0371-60863533
豫ICP备14017777号-3 营业执照 河南省互联网违法和不良信息举报中心

